2025/Grupo4/DimensionamientoFisico
Determinación de la localización
Para determinar la ubicación más adecuada para la planta de fabricación de cortinas roller, se analizaron tres posibles alternativas con fuerte perfil industrial, buena conectividad y acceso a recursos:
- Rosario (Santa Fe)
- La Matanza (Provincia de Buenos Aires)
- Godoy Cruz (Mendoza)
| Rosario (Santa Fe) | La Matanza (Buenos Aires) | Godoy Cruz (Mendonza) | |||||
| Factor | IRfp | DRfa | IRfpxDRfa | DRfa | IRfpxDRfa | DRfa | IRfpxDRfa |
| Acceso al mercado | 4 | 4 | 16 | 5 | 20 | 3 | 12 |
| Cercanía a proveedores | 4 | 4 | 16 | 4 | 16 | 2 | 8 |
| Cercanía a clientes | 4 | 4 | 16 | 5 | 20 | 3 | 12 |
| Medios de transporte | 4 | 4 | 16 | 5 | 20 | 3 | 15 |
| Disponibilidad de mano de obra especializada | 4 | 4 | 16 | 4 | 16 | 3 | 12 |
| Disponibilidad de terrenos | 3 | 4 | 12 | 3 | 9 | 5 | 15 |
| Costo del terreno | 3 | 3 | 9 | 2 | 6 | 4 | 12 |
| Disponibilidad energética | 5 | 5 | 25 | 5 | 25 | 4 | 20 |
| Posibilidad de tratar los desechos | 3 | 4 | 12 | 5 | 15 | 4 | 12 |
| Posible expansión | 3 | 4 | 12 | 3 | 9 | 4 | 12 |
| Sumatoria | 150 | 156 | 130 | ||||
Se construyó una matriz de localización, ponderando factores clave mediante un Índice de Relevancia (IR) y evaluando el Desempeño Relativo (DR) de cada localidad. A partir del producto IR×DR, se cuantificó la conveniencia de cada opción.
Las valoraciones de cada factor se hicieron en base a los siguientes criterios:
- Acceso al mercado: Cercanía a los principales centros de consumo del producto.
- Cercanía a proveedores: Proximidad a los proveedores de materias primas e insumos.
- Cercanía a clientes: Ubicación respecto al público objetivo o puntos de venta.
- Medios de transporte: Disponibilidad y calidad de rutas, autopistas y transporte público.
- Disponibilidad de mano de obra especializada: Presencia local de personal calificado.
- Disponibilidad de terrenos: Existencia de lotes industriales disponibles.
- Costo del terreno: Precio de compra o alquiler del terreno.
- Disponibilidad energética: Acceso a red eléctrica confiable y suficiente.
- Posibilidad de tratar los desechos: Condiciones para gestionar residuos adecuadamente.
- Posible expansión: Espacio para futuras ampliaciones de la planta
Definición técnica del producto
Planos y/o dibujos

Listado de materiales BOM
| Ítem | Código | Denominación | Nivel 1 | Nivel 2 | Nivel 3 | Cantidad estimada | Unidad |
|---|---|---|---|---|---|---|---|
| 1 | C | Cortina Roller Q66 – Sistema Cadena | ✔ | 1,00 | conjunto | ||
| 2 | C1 | Tela técnica (Blackout / Sunscreen) | ✔ | 1,92 | m² | ||
| 3 | C2 | Tubo de aluminio Q66 Ø38 mm | ✔ | 1,20 | m lineal | ||
| 4 | C3 | Mecanismo de cadena BL | ✔ | 1,00 | unidad | ||
| 5 | C4 | Kit de soportes completos | ✔ | 1,00 | set | ||
| 5.1 | COROSOP046 | Soporte metálico 5502 | ✔ | 1,00 | unidad | ||
| 5.2 | COROSOP047 | Soporte metálico 7502 | ✔ | 1,00 | unidad | ||
| 5.3 | COROTAP050 | Tapa decorativa para soporte 5502 | ✔ | 1,00 | unidad | ||
| 5.4 | COROTAP052 | Tapa decorativa para soporte 7502 | ✔ | 1,00 | unidad | ||
| 5.5 | COROTIK009 | Tornillos fijación soporte | ✔ | 4,00 | unidades | ||
| 5.6 | COROFLA002 | Adaptador Q2 a sistema Bethin | ✔ | 1,00 | unidad | ||
| 6 | C5 | Sistema de transmisión | ✔ | 1,00 | set | ||
| 6.1 | COROCON007 | Cadena metálica BCH | ✔ | 3,2 | metros | ||
| 6.2 | COROCON002 | Conector cadena metálica | ✔ | 1,00 | unidad | ||
| 7 | C6 | Elementos de ajuste y alineación | ✔ | - | - | ||
| 7.1 | COROADA016 | Adaptador tubo Q66 | ✔ | 1,00 | unidad | ||
| 7.2 | COROADA067 | Adaptador tubo BL52 a Q53/Q66 | ✔ | 1,00 | unidad | ||
| 7.3 | COROADA058 | Adaptador resorte aligeramiento | ✔ | 1,00 | unidad | ||
| 7.4 | CORORES011 | Resorte aligeramiento derecho | ✔ | 1,00 | unidad | ||
| 7.5 | CORORES012 | Resorte aligeramiento izquierdo | ✔ | 1,00 | unidad | ||
| 7.6 | PEROTUB093 | Puntera regulable Q66 | ✔ | 1,00 | unidad | ||
| 8 | C7 | Montaje y fijación a superficie | ✔ | - | - | ||
| 8.1 | COROBAS002 | Base 1035.4 | ✔ | 1,00 | unidad | ||
| 8.2 | COROTAP019 | Tapa base 1035 | ✔ | 1,00 | unidad | ||
| 8.3 | COROCLI007 | Clip base 1035 | ✔ | 1,00 | unidad | ||
| 9 | C8 | Otros elementos funcionales y opcionales | ✔ | - | - | ||
| 9.1 | LAALLAM006 | Fleje Louvolite 7–8 mm | ✔ | 1,00 | unidad | ||
| 9.2 | CORIONS019 | Traba tela roller D3.2 | ✔ | 1,00 | unidad | ||
| 10 | C9 | Funda plástica protectora | ✔ | 0,78 | m² | ||

Especificaciones Técnicas
| Clasificacion | Valor |
|---|---|
| Modelo Base | Kit estandar 120 cm ancho x 160 cm alto |
| Tipo de Tela | Blackout o Screen, según elección del cliente |
| Color | Blanco, gris medio, arena, beige, crema |
| Dimensionales | Valor |
|---|---|
| Tubo de aluminio | aluminio anonizado de Ø 38 mm, espesor 1,3 mm |
| Ancho de tela | 120 cm (ancho útil igual a 117 cm, se utilizan 3 centímetros dentro del mecanismo) |
| Peso total de Kit | 2 kg |
| Tolerancias | ± 0,5 cm en corte de tela y estructura |
Normas Aplicables
Aunque no existen normativas obligatorias específicas para cortinas roller manuales, se procurará cumplir con los siguientes estándares relevantes para asegurar calidad, seguridad y sostenibilidad del producto:
- IRAM 11605: Acondicionamiento térmico de edificios. Condiciones de habitabilidad en edificios. Aplica a productos que contribuyen al control térmico en ambientes interiores.
- IRAM 11910: Se prioriza la selección de telas con certificación de resistencia al fuego para garantizar seguridad en hogares como en espacios corporativos.
- ISO 14001: Norma internacional de gestión ambiental. Se tomará como referencia para minimizar el impacto ambiental en materiales, procesos y gestión de residuos.
Características Condición del Producto
Para garantizar el correcto funcionamiento, durabilidad y estética de las cortinas roller, se recomienda tener en cuenta las siguientes condiciones de uso y conservación:
- Instalación adecuada: Las cortinas deben instalarse en superficies niveladas y con los anclajes correctamente fijados. El uso de soportes adecuados evita deformaciones o desprendimientos.
- Evitar fuerzas excesivas: No aplicar tensión brusca sobre la cadena de accionamiento ni forzar el mecanismo de enrollado. El uso correcto asegura una mayor vida útil del sistema.
- Protección en obras: Si se realiza pintura, revoque u otro tipo de mantenimiento cerca de las cortinas, se recomienda cubrirlas completamente con film protector o plásticos para evitar manchas o daños.
- Limpieza periódica: La tela debe limpiarse con un paño seco o ligeramente húmedo, sin el uso de productos abrasivos. En zonas de alta polución o exposición al polvo, se recomienda aumentar la frecuencia de limpieza.
- Condiciones de ambiente: Evitar la exposición constante a la humedad o ambientes agresivos que puedan deteriorar los componentes metálicos. Las cortinas están diseñadas para uso interior.
- No utilizar como soporte: No colgar objetos sobre las cortinas ni utilizarlas como sostén de peso adicional.
- Almacenamiento y transporte: En caso de no instalarse inmediatamente, almacenar en un lugar seco y horizontalmente en su embalaje original para evitar deformaciones.
Plan de Ensayos
Garantizar la calidad, seguridad y sustentabilidad de las cortinas roller desde su diseño hasta su comercialización requiere la implementación de un plan de ensayos. Este plan se estructura en seis áreas técnicas, cada una con ensayos específicos, criterios de aceptación y fundamentos normativos
1. Ensayos Dimensionales y de Material
Norma aplicada: IRAM 15-100
- Tamaño de lote: 200 unidades
- Cantidad ensayada: 5% del lote (10 unidades)
- Verificación dimensional de la tela: Cada unidad debe cumplir con las medidas nominales (1,92 m²). Se rechaza si el error excede ±0,5 cm.
- Verificación de componentes metálicos: Se controlan cortes de tubo y calidad del aluminio. Se descarta la pieza si no cumple con tolerancias operativas.
2. Ensayos Mecánicos de Funcionamiento
Norma aplicada: IRAM 15-100
- Tamaño de lote: 200 unidades
- Cantidad ensayada: 5% del lote (10 unidades)
- Se realizan 10 ciclos operativos por unidad para evaluar el sistema de cadena y freno.
- Se aplican 20 ciclos de enrollado continuo en banco de prueba para verificar la resistencia estructural.
- Se rechaza la unidad si presenta trabas, fricción excesiva, ruido anormal, deformación o juego mecánico fuera de tolerancia. Si 2 o más unidades fallan, se revisa el lote completo.
3. Ensayos Superficiales y Visuales
Norma aplicada: IRAM 15-100
- Tamaño del lote: 100 unidades por lote de embalaje.
- Cantidad ensayada: 5 unidades por lote.
- Calidad de terminaciones: Se inspecciona el 100% de las unidades antes de embalaje, verificando ausencia de rayones, rebabas y bordes irregulares.
- Aspecto visual de telas: Se evalúa la uniformidad del color, presencia de marcas o defectos en el tramado
- Criterios de aceptación: El producto debe llegar intacto. Se rechaza si hay daño funcional o estético.
4. Ensayos Ambientales y de Embalaje
Norma aplicada: ISO 14001
- Tamaño del lote: 100 unidades por lote de embalaje
- Cantidad ensayada: 5 unidades por lote
- Criterios de aceptación: El producto debe llegar intacto tras la prueba de caída
- Se rechaza si hay daño funcional o estético.
- Si 2 o más unidades fallan, se revisa el lote completo.
- Simulación de caída de embalaje: Se realizará una prueba de caída desde 1 metro sobre tres caras del empaque. El nuevo embalaje combina funda plástica interna y caja externa de cartón corrugado reciclable. Se busca garantizar que el producto llegue intacto al consumidor.
- Procedimientos ambientales: Los sobrantes de tela se derivan a un emprendimiento textil en Mendoza (fabricación de carteras a partir de materiales reciclados) y los tubos de aluminio se reciclan en Basavilbaso Metales Reciclaje (Gregorio de Laferrere).
Procedimiento en caso de no conformidad
- Las unidades fuera de norma se apartan para retrabajo o descarte.
- Se documentan en la hoja de control de calidad.
- Se notifican a Producción y Diseño.
- Se aplican acciones correctivas en línea con IRAM 15-100.
Acondicionamiento del Producto

Cada cortina roller se acondiciona en una funda plástica interna, que protege la tela y los mecanismos durante el almacenamiento y manipulación. Para su distribución, se incorpora una caja externa de cartón corrugado reciclable, que brinda resistencia frente a golpes y caídas.
El empaque incluye:
- Identificación del lote.
- Fecha de fabricación.
- Modelo, dimensiones y tipo de tela.
- Código de trazabilidad QR.
- Información del lugar de producción.
- Recomendaciones básicas de instalación y conservación.
Este sistema de embalaje fue seleccionado por su capacidad para proteger componentes con bordes metálicos (ménsulas, tornillos de montaje) sin comprometer la integridad del producto.
Definición del Proceso de Producción
Diagrama de Flujo de Fabricación y Control

Cursograma

Descripción del proceso productivo
- Recepción de Materia Prima: Se reciben insumos como telas (blackout/sunscreen), tubos de aluminio, mecanismos y accesorios.
- Transporte: Traslado interno hacia el área de almacenamiento intermedio.
- Almacenaje de Materia Prima: Se clasifican y almacenan en estanterías o racks, según el tipo de insumo.
- Transporte: Se trasladan los insumos requeridos al área de corte.
- Corte de Tela: Se realiza el corte de tela según las dimensiones del producto estándar (1,2 m x 1,6 m), utilizando mesa de corte y guía.
- Corte de Tubo: Corte de tubo de aluminio a la medida requerida (1,2 m) con herramientas de precisión.
- Transporte: Se trasladan las piezas cortadas y componentes al sector de armado.
- Preparación de Soportes y Mecanismos: Se alistan kits completos (cadena, tapas, tornillos y soportes) para ensamblar cada cortina.
- Transporte: Se lleva el conjunto al área de ensamble.
- Ensamblado de Cortina: Unión de los elementos: se inserta la tela en el tubo, se colocan los mecanismos y se prueba el funcionamiento general.
- Inspección Final: Verificación visual y funcional de cada unidad antes del embalaje.
- Embalaje: Cada cortina se coloca en su funda protectora plástica y rotulada.
- Transporte: Traslado del producto terminado al depósito.
- Almacenaje de Producto Terminado: Se almacenan en el área de productos terminados, listos para despacho.
Determinación de las máquinas e instalaciones
Especificaciones técnicas de las máquinas (capacidades, tamaño de lotes, tiempos)
Para optimizar la etapa de corte y medición de tela técnica (blackout o screen), se seleccionó la máquina CTLR-3000 de la marca REXEL

Especificaciones técnicas:
- Ancho máximo de rollo: 2500–3000 mm
- Peso máximo de rollo: hasta 40 kg
- Diámetro máximo de rollo: hasta 300 mm
- Alimentación eléctrica: 230 V
- Potencia: 0,6 kW
- Velocidad máxima: 22 m/min = 1320 m/h
- Largo de la pieza a cortar: 1,2 m
- Tipo de corte: transversal (por lo tanto, la longitud del corte es lo que determina la velocidad de avance y la cantidad de cortes por hora)
Para asegurar cortes rectos, limpios y repetitivos en los tubos de aluminio, se seleccionó la tronzadora automática SA 142/37, desarrollada por la firma alemana Elumatec, especializada en maquinaria para carpintería metálica y producción industrial

Especificaciones técnicas:
- Diámetro del disco de corte: 500 mm
- Modo de avance: Hidroneumático
- Tipos de corte: Rectos y angulares hasta 45° (grupo de sierra basculante opcional)
- Selector de ciclo: Avance simple, doble o triple
- Sistema de elevación de perfiles: evita rayones y protege la superficie durante el posicionamiento
- Sujeción multipieza: opcional para cortes simultáneos o piezas pequeñas
- Visualización digital opcional: sistema E111 para ajuste preciso de ángulos
- Alimentación eléctrica: 3×400 V – 5,5 kW
Se seleccionó la mesa de ensamblado Yewdale, diseñada específicamente para este tipo de producto. Su estructura ergonómica y modular permite aumentar la productividad, mejorar la precisión del armado y reducir el espacio ocupado en planta.

Especificaciones técnicas:
- Anchos disponibles: 2.6 m, 3 m, 3.5 m y 4.2 m
- Sistema de sujeción: pinza neumática (air clamp) de accionamiento por interruptor
- Diseño compacto: permite ubicar hasta 4 mesas en el espacio de una mesa tradicional
Se selecciono la selladora por impulso CFB-2000 N de Thermopack, diseñada especialmente para el cierre térmico

Especificaciones técnicas
- Tipo de sellado: por impulso eléctrico
- Longitud máxima de sellado: 2000 mm
- Sistema de accionamiento: neumático, con control de velocidad
- Resistencias superiores e inferiores para un sellado uniforme
- Temporizador con indicador de estado del ciclo
- Guía formadora de zócalo con regulador
- Estructura metálica con pintura epoxi y tratamiento anticorrosivo
- Laterales abiertos que facilitan el manejo de piezas largas
Para garantizar la trazabilidad y correcta identificación de cada unidad de cortina roller, se seleccionó la impresora térmica industrial ZT411 de Zebra Technologies

Especificaciones técnicas:
- Método de impresión: térmica directa y transferencia térmica
- Resolución: 203, 300 o 600 dpi (según modelo)
- Ancho máximo de impresión: hasta 104 mm
- Velocidad de impresión: hasta 356 mm/s
- Pantalla: táctil a color de 4.3” para configuración y monitoreo
- Conectividad: USB, Ethernet, Bluetooth 4.1, RS-232, Wi-Fi (opcional)
- Memoria: 256 MB RAM / 512 MB Flash
- Chasis: metálico con puerta lateral de acceso rápido
- Compatibilidad: etiquetas con códigos de barras, QR, texto, símbolos y datos variables
Consumos de energía, agua y otros servicios
Consumo de energía eléctrica
El consumo energético del proceso productivo se calcula en función de las potencias nominales de los equipos seleccionados y las horas de operación estimadas según el volumen proyectado de producción. Se estima una jornada de 8 horas diarias durante 240 días al año (1.920 horas anuales).
| Máquina / Equipo | Potencia (kW) | Tiempo de operación anual (h) | Consumo estimado anual (kWh) |
|---|---|---|---|
| Medidor y cortador CTLR-3000 | 0,6 | 1.952 | 1.171 |
| Tronzadora automática SA 142/37 | 5,5 | 1.952 | 10.736 |
| Mesa de ensamblado Yewdale (neumática) | — | — | 0 (ver aire comprimido) |
| Selladora por impulso Thermopack | 3,2 | 960 (uso parcial) | 3.072 |
| Impresora térmica Zebra ZT411 | 0,1 | 960 | 96 |
| Iluminación planta (LED 20 × 20W) | 0,4 | 1.952 | 781 |
| Aire comprimido – Compresor 3HP | 2,2 | 960 | 2.112 |
Consumo eléctrico del proceso productivo total estimado: 17.968 kWh/año
Consumo eléctrico de equipos auxiliares y administrativos
| Área | Equipo / Elemento | Potencia (kW) | Tiempo de operación anual (h) | Consumo estimado anual (kWh) |
|---|---|---|---|---|
| Producción | Dispenser de agua | 0,575 | 1.952 | 1.122 |
| Producción | Aire acondicionado | 1,500 | 1.000 (uso estacional) | 1.500 |
| Oficina de Producción | Computadora de escritorio | 0,160 | 1.952 | 624 |
| Oficina de Producción | Impresora multifunción | 0,450 | 360 (uso parcial) | 162 |
| Oficina de Producción | Dispenser de agua | 0,575 | 1.952 | 1.122 |
| Oficina de Producción | Aire acondicionado | 1,500 | 1.000 | 1.500 |
| Oficina Comercial | Computadora de escritorio | 0,160 | 1.952 | 624 |
| Oficina Comercial | Impresora | 0,450 | 360 | 162 |
| Oficina Comercial | Aire acondicionado | 1,500 | 1.000 | 1.500 |
| Comedor | Heladera con freezer | 0,115 | 8.760 (uso continuo) | 1.007 |
| Comedor | Microondas | 0,065 | 240 (uso parcial) | 15,6 |
| Comedor | Cafetera eléctrica | 1,150 | 240 | 276 |
| Comedor | Dispenser de agua | 0,575 | 1.952 | 1.122 |
| Comedor | Aire acondicionado | 1,500 | 1.000 | 1.500 |
Consumo eléctrico total estimado de equipos auxiliares y administrativos: 12.136,6 kWh/año
Consumo eléctrico total de la planta: 30.104,6
Consumo de agua
| Categoría | Estimación diaria | Días operativos/año | Consumo anual estimado |
|---|---|---|---|
| Limpieza de herramientas y superficies | 5 litros/día | 244 | 1.220 litros |
| Uso sanitario (13 personas × 40L) | 520 litros/día | 244 | 126.880 litros |
| Limpieza general de planta | 20 litros/día | 244 | 4.880 litros |
Consumo total de agua : 132.980
Otros servicios
- Internet: contratación de plan mensual de fibra óptica de 300 Mb/s para control administrativo, trazabilidad y etiquetado.
- Telefonía: línea fija + celulares corporativos para gestión de ventas y proveedores.
- Gas natural: no requerido, ya que todo el proceso productivo es eléctrico
Mantenimiento, medios de control y sistemas de seguridad
Se establecen las siguientes tareas periódicas para asegurar el funcionamiento óptimo de los equipos e instalaciones:
| Equipo | Tarea de mantenimiento | Frecuencia | Observaciones técnicas |
|---|---|---|---|
| CTLR-3000 – REXEL | Limpieza de sensores y cuchilla | Semanal | Usar aire comprimido seco y paño antiestático |
| Verificación de tensión de correas internas | Mensual | Ajustar si presenta holgura o ruido irregular | |
| Actualización de firmware de pantalla táctil | Trimestral | Requiere USB o conexión externa de soporte técnico | |
| SA 142/37 – Elumatec | Revisión de afilado de disco de corte | Mensual | Reemplazar si presenta rebabas o arrastre |
| Inspección de sistema hidroneumático | Trimestral | Verificar estanqueidad, válvulas y cilindros | |
| Calibración de ángulos de corte | Semestral | Utilizar escuadra de precisión y sistema digital E111 | |
| Mesa de ensamblado – Yewdale | Verificación de presión en clamp neumático | Mensual | Presión óptima de trabajo: 5–6 bar |
| Limpieza de superficie de trabajo | Diaria | Usar paño seco y alcohol isopropílico | |
| Selladora Thermopack CFB-2000N | Inspección de resistencias y sensores | Mensual | Reemplazo programado cada 1.000 horas |
| Calibración de tiempo de sellado | Trimestral | Revisar uniformidad y sellado sin quemado | |
| Impresora Zebra ZT411 | Limpieza de cabezal y rodillo | Semanal | Limpieza del cabezal térmico |
| Revisión de stock de etiquetas | Diaria | Control visual y por software de impresión | |
| Compresor de aire (3 HP) | Purga de tanque y limpieza de filtro de aire | Semanal | Evita acumulación de humedad y pérdida de presión |
| Control de presión de corte | Mensual | Rango operativo: 5–8 bar |
Sistemas de seguridad
Para proteger al personal y a las instalaciones, se prevén las siguientes medidas activas y pasivas:
- Extintores multipropósito (clase ABC): 1 cada 100 m², verificados semestralmente.
- Detector de humo autónomo en área de corte y armado.
- Interruptores de emergencia: en zonas críticas (CTLR-3000, SA 142/37).
- Señalización de evacuación y peligro eléctrico conforme a IRAM 10005.
- Equipos de protección personal (EPP):
- Gafas para corte y manipulación de tubos
- Guantes antiestáticos y resistentes a cortes (nivel 3 o superior)
- Zapato de seguridad con puntera metálica
- Capacitación anual en seguridad operativa y primeros auxilios.
Cálculos de máquinas e instalaciones
Balance anual de material. Producción seccional
Teniendo en cuenta el plan de ventas del año 2 proyecta una venta de 20.400 cortinas
| Sección operativa | MP principal | Unidad | Entrada | Desperdicio (No recuperable) | Producción útil |
|---|---|---|---|---|---|
| Corte de tela | Tela técnica | m² | 40.200 | 1.000 | 39.200 |
| Corte de tubo | Tubos aluminio | m | 24.800 | 320 | 24.480 |
| Ensamblado | Componentes completos | unidades | 20.400 | 0 | 20.400 |
Nota: Cada sección operativa gestiona su propia materia prima según requerimientos específicos. No hay cruce de insumos entre áreas de corte.
Cada cortina requiere 1,92 m2 de tela y 1,2 metros de tubo, por lo que se dimensionan los insumos totales en función directa a estas especificaciones. El desperdicio operativo considerado para tela es del 2,5% y para tubos del 1,3%, ajustado a los valores esperados por cortes defectuosos, errores dimensionales y bordes irregulares.
Con los datos anteriores mencionados (cada cortina requiere 1,92 m2 de tela y 1,2 metros de tubo) calculamos el desperdicio equivalente de producto terminado.
Equivalente a producto terminado desperdicio en corte de tela = 1000m2/ 1.92m2 = 520,83pt
Equivalente a producto terminado desperdicio en corte de tubo = 320m/ 1.2m = 266,67pt
Dando un porcentaje de desperdicio real en función de la producción de:
- Corte de tela : 520,83 und / 20400 und x 100 = 2,55%
- Corte de tubo : 266.67 und / 20400 und x 100 = 1,34%
Ritmo de trabajo
La producción se organizará en un turno único de 8 horas diarias, operando de lunes a viernes. Para calcular la capacidad operativa anual, se parte de una estructura de días laborables y se descartan los feriados nacionales inamovibles y trasladables.
- Semanas/año: 52
- Días laborables/semana: 5: 260 días/año
- Feriados oficiales (2025): 16 días (12 inamovibles + 4 trasladables)
- Vacaciones: se alternan entre operarios para no interrumpir la producción
Días efectivos de producción: 260 – 16 = 244 días/año.
(Aproximadamente 8 meses)
| Concepto | Valor |
|---|---|
| Jornada laboral diaria | 8 horas |
| Días efectivos | 244 días/año |
| Horas operativas/año | 1.952 horas/año |
Capacidad real anual de la maquinaria tipo de cada sección operativa
| Sección operativa | Máquina principal | Capacidad teórica [unid/h] | Horas/año | Capacidad teórica anual [unid] | Rendimiento [%] | Capacidad real anual [unid] |
|---|---|---|---|---|---|---|
| Corte de tela | CTLR-3000 | 18 | 1.952 | 35.136 | 90 % | 31.622 |
| Corte de tubo | SA 142/37 | 40 | 1.952 | 78.080 | 90 % | 70.272 |
| Ensamble | Banco neumático Yewdale | 13 | 1.952 | 25.376 | 88 % | 22.330 |
| Sellado | Selladora Thermopack | 15 | 1.952 | 29.280 | 90 % | 26.352 |
| Etiquetado | Zebra ZT411 | 15 | 1.952 | 29.280 | 90 % | 26.352 |
Determinación de la cantidad de máquinas operativas por sección, capacidad real anual de cada sección y su aprovechamiento en relación al programa de producción
| Sección operativa | Producción anual proyectada [unid] | Capacidad real por máquina [unid/año] | Máquinas necesarias | Capacidad total [unid/año] | Aprovechamiento [%] |
|---|---|---|---|---|---|
| Corte de tela | 20.400 | 31.622 | 1 | 31.622 | 64,52% |
| Corte de tubo | 20.400 | 70.272 | 1 | 70.272 | 29,04 % |
| Ensamble | 20.400 | 22.330 | 1 | 22.330 | 91,36 % |
| Sellado | 20.400 | 26.352 | 1 | 26.352 | 77,45 % |
| Etiquetado | 20.400 | 26.352 | 1 | 26.352 | 77,45 % |
Cuello de botella
El cuello de botella se encuentra en el Ensamble ya que es la sección con mayor grado de aprovechamiento.
Determinación de la evolución de mercaderías
Proveedores, tiempo de entregas y tipos de envío de materia prima y semi elaborados.
- Tela:
La principal materia prima que se trabajara será la tela para la cortina, en este caso de 2 tipos, blackout y screen.
Para ambas telas se elegio a Rollmat como proveedor que son importadores directos de marcas reconocidas de telas blackout y screen. Con tiempos de entrega de aproximadamente 3 días hábiles, por medio de sus propios transportistas y disponibilidad de mercadería todo el año. De esta manera contamos con un proveedor confiable, con disponibilidad continua y periodos de envió muy cortos.
- Tubos de aluminio:
Estos tubos es donde se enrolla la tela el proveedor elegido es J. L. Metales SRL , ubicada en la ciudad de Caseros en Buenos Aires zona oeste. Este mismo es un distribuidor oficial de ALUAR. Ofrecen barras y perfiles de aluminio en todos sus formatos, incluyendo tubos con un amplio stock lo cual nos brinda disponibilidad a lo largo de todo el año.
El envío promedio lleva 1 semana y teniendo en cuenta la ubicación de nuestra planta.
- Sistemas de accionamiento:
También serán comprados a Rollmat, se les comprara el conjunto entero con todos sus componentes.
Evolución de la producción
Para poder calcular esto primero deberemos definir el periodo de puesta en marcha de la fabrica.
Para este proyecto el mismo fue estimado en 3 meses, donde la producción crecerá linealmente hasta llegar al estado de régimen.
Para definir esto se realizo un estudio por un tecnólogo con experiencia en el sector y por datos obtenidos de la competencia.
Con la producción mensual en estado de regimen de 20400 pt y considerando los feriados distribuidos en el año, junto a que las vacaciones se alternan entre operarios para no interrumpir la producción. Se calcula el valor mensual promedio de produccion
| Valor mensual | 20400/12= | 1700 und | |||
| Mes | Ritmo de produccion al inicio % | Ritmo de produccion al final % | Produccion promedio % | Produccion mensual promedio und | Produccion propuesta |
|---|---|---|---|---|---|
| 1 | 0 | 25 | 12,50% | 1700 | 212,5 |
| 2 | 25 | 50 | 37,50% | 1700 | 637,5 |
| 3 | 50 | 100 | 75% | 1700 | 1275 |
| TOTAL | 2125 | ||||
| Volumen de produccion durante el resto del año | 12-3 =9 | 9 x 1700 = | 15300 | und | |
| Volumen de produccion Año 1 | 17425 | und | |||
| Volumen de produccion del año 2 al n | 1700 | und | |||
Stock promedio de producto elaborado
Debido a que todos nuestros proveedores tienen tiempos de entrega iguales o menores a 1 semana se tomo este periodo como el ritmo uniforme de entregas, lo cual es compatible con el tamaño de nuestros almacenes para suplir esta necesidad de materia primas.
El stock de seguridad se fijo en 0 ya que por parte de los proveedores se tiene cortos periodos de entrega y disponibilidad constante. Por lo cual almacenar un stock de seguridad generaría costos innecesarios.
Teniendo esto en cuenta y 52 semanas por año (no se detiene producción por vacaciones como fue mencionado anteriormente):
- Stock promedio 20400/ 52 = 392.4 unidades (cortinas)
Este stock se genera inicialmente en el periodo de puesta en marcha y se va renovando manteniéndose constante.
Evolución de las ventas durante la vida útil del proyecto
En el año 1 se deberá restar la producción del stock promedio a la producción de este mismo.
17425- 392.4 = 17.032,6 => Año 1: 17.032,6 cortinas.
Del año 2 al 10 se mantienen como fueron calculadas. => Año 2 al 10: 20.400 cortinas.
Consumo de materia prima para el programa de producción y formación de la mercadería en curso y semielaborados
Teniendo en cuenta que durante el periodo de puesta en marcha de los primeros 3 meses, se producirá un 100% más de desperdicio no recuperable, según estimaciones podemos calcular:
Desperdicio puesta en marcha corte de tela= 2,55% x 2 = 5,1%
Desperdicio puesta en marcha corte de tubo= 1,30% x 2 = 2,6%
Desperdicio en regimen corte de tela= 2,55%
Desperdicio en regimen corte de tubo= 1,30%
(En relacion al producto terminado)
- AÑO 1 (Consumo de mp para realizar la producción del año)
Corte de tela
Primeros 3 meses de puesta en marcha: 2125 x 1.051= 2.233,4 und
9 meses restantes: 15300 x 1.0255 = 15.690,15 und
Total= 17.923,55 und
Si la producción del año 1 es de 17.425 und el desperdicio no recuperable es de ( 17.923,55 - 17.425 ) x 1.92 = 982,14 m2
Y si se necesitan 1,92 m2 de tela por unidad el consumo de metros cuadrados de tela en el año 1 es de 17.923,55 x 1.92 = 34.413,22 m2
En cuanto a la materia prima en proceso el ciclo de elaboración demanda 2 días de ritmo normal (desde ingreso de materia prima hasta producto terminado en depósito) y una operación de 244 días, la cantidad de ciclos anuales será:
Ciclos Anuales de Elaboración = 244 días / 2 días x ciclo = 122 ciclos de Elaboración al año
Si se alimentan 40.200 m2 por año y hay 122 ciclos tengo de mercaderia en curso 40.200/122 = 329,51 m2
Y si se necesitan 1,92 m2 de tela por unidad la cantidad de producto terminado en proceso es 329,51 / 1,92 = 171,61 und y con un desperdicio del 2,55% tengo 171,61 x 0.0255 = 4,37 und de desperdicio o sea 8,40 m2
Teniendo un total de materia prima en proceso de 337,91 m2
El consumo total de tela para el año 1 es de 34.413,22 m2 + 337,91 m2 = 34.751,13 m2
Corte de tubo
Primeros 3 meses de puesta en marcha: 2125 x 1.026= 2.180,25 und
9 meses restantes: 15300 x 1.013 = 15.498,9 und
Total= 17.679,15 und
Si la producción del año 1 es de 17.425 und el desperdicio no recuperable es de ( 17.679,15 - 17.425 ) x 1.92 = 487,968 m
Y si se necesitan 1.2 m de tubo por unidad el consumo de metros de tubo en el año 1 es de 17.679,15 x 1.2 = 21.214,98 m
En cuanto a la materia prima en proceso ciclo de elaboración demanda 2 días de ritmo normal (desde ingreso de materia prima hasta producto terminado en depósito) y una operación de 244 días, la cantidad de ciclos anuales será:
Ciclos Anuales de Elaboración = 244 días / 2 días x ciclo = 122 ciclos de Elaboración al año
Si se alimentan 24.800 m de tubo por año y hay 122 ciclos tengo de mercadería en curso 24.800/122 = 203,28 m
Y si se necesitan 1,2 m de tubo por unidad la cantidad de producto terminado en proceso es 203,28 / 1,2 = 169,4 und y con un desperdicio del 1,3% tengo 169,4 x 0.013 = 2,2 und de desperdicio o sea 2,64 m
Teniendo un total de materia prima en proceso de 205,92 m
El consumo total de tubos para el año 1 es de 21.214,98 m + 205,92 m = 21.420,9 m
- Año 2 al 10
Corte de tela
20.400 unidades con un desperdicio de 2,55% 20.400 x 1.0255 = 20.920,2 con 1.92 m2 de tela por unidad 20.920,2 x 1.92 m2 = 40.200 m2
Con un desperdicio no recuperable de 1.000 m2
Corte de tubo
20.400 unidades con un desperdicio de 1,3% 20.400 x 1.013 = 20.665,2 con 1.2 m de tubo por unidad 20.665,2 x 1.2 m2 = 24.800 m
Con un desperdicio no recuperable de 320 m
Stock promedio de materia prima y programa de compras
Como fue mencionado con anterioridad para el estado de régimen el consumo de mp anual es de:
40.200 m2 TELA
24.800 m TUBOS
Todos los proveedores tienen tiempos de entrega iguales o menores a 1 semana se tomo este periodo como el ritmo uniforme de entregas (por tamaño de almacén de mp).
Estas compras semanales nos permiten mantener el stock en mínimos ahorrando mucho dinero en costos de almacenamiento.
| Materia prima | Consumo semanal | ||
|---|---|---|---|
| Tela | 40,200/12/4= | 837,5 | m2 |
| Tubos | 24800/12/4= | 308,33 | m2 |

Cuadro de Evolución de Mercaderías
| Concepto | Año 0 | Año 1 | Año 2 – 10 |
|---|---|---|---|
| Ventas PT | 0 | 17.033 | 20.400 |
| Stock prom PT | 0 | 392 | 392 |
| Producción PT | 0 | 17.425 | 20.400 |
| Desperdicios MP | 0 | Tela: 983 m2
Tubo: 488 m |
Tela: 1.000 m2
Tubo: 320 m |
| MP en curso y SE | 0 | Tela: 338 m2
Tubo:206 m2 |
Tela: 338 m2
Tubo:206 m2 |
| Consumo MP | 0 | Tela: 34.752 m2
Tubo: 21.421 m |
Tela: 40.200 m2
Tubo: 24.800 m |
| Stock prom de MP | Tela: 1.000 m2
Tubo: 600 m |
Tela: 338 m2
Tubo: 206 m |
Tela: 338 m2
Tubo: 206 m |
| Compra de Materia Prima | Tela: 1.000 m2
Tubo: 600 m |
Tela: 34.090 m2
Tubo: 21.027 m |
Tela: 40.200 m2
Tubo: 24.800 m |
Nota: La compra de materia prima en el Año 0 permite conformar el stock técnico necesario para iniciar la producción sin demoras, garantizando continuidad operativa
Determinación el personal
Organigrama de la empresa

Descripción de los Puestos de Trabajo. Calificación y Formación necesaria de los Operadores
Gerente general: Responsable de la dirección estratégica y operativa de la empresa. Define la visión y misión, toma decisiones clave y coordina las distintas áreas funcionales. Se requiere formación en Ingeniería Industrial, Administración o afines. Debe contar con experiencia directiva, liderazgo sólido y visión de largo plazo.
Gerente comercial y administrativo: Supervisa la administración interna y las operaciones comerciales. Dirige al equipo de marketing, ventas y contabilidad; además de participar en análisis de mercado y estrategias de posicionamiento. Formación sugerida: Ingeniería Industrial, Administración o Marketing. Se valoran habilidades de liderazgo, comunicación y conocimientos contables.
Responsable contable-financiero: Gestiona los registros contables, flujo de caja, cumplimiento fiscal y presupuestos. Emite reportes financieros e informes para la toma de decisiones. Se recomienda formación como Contador Público o en Finanzas, con conocimientos actualizados en legislación fiscal y sistemas contables.
Responsable de compras y logística: Encargado de la adquisición de materias primas, insumos y coordinación de entregas y transporte de productos terminados. Negocia con proveedores y planifica la gestión del inventario. Formación ideal: Ingeniería Industrial, Logística o Administración. Se requieren habilidades de planificación y negociación.
Responsable de Marketing y ventas: Diseña campañas de marketing, gestiona redes sociales y coordina acciones comerciales. También interviene en el análisis de mercado y contacto con clientes. Se requiere formación en Marketing, Publicidad o Comunicación, con pensamiento creativo, habilidades interpersonales y orientación a resultados.
Gerente de producción: Planifica, organiza y supervisa todo el proceso productivo. Garantiza el cumplimiento de objetivos de calidad, tiempo y eficiencia. Coordina con mantenimiento y logística. Se busca formación en Ingeniería Industrial, con experiencia en entornos productivos y capacidad de resolución operativa.
Operarios: Ejecutan tareas específicas del proceso productivo: corte, ensamblado, sellado, etiquetado, traslado y embalaje. Operan maquinaria, realizan controles visuales y completan registros de producción. Requieren secundario completo, buena predisposición física y formación específica interna según el puesto.
| Sección operativa | Actividad principal | Operario asignado |
|---|---|---|
| Corte de tela | Corte inicial | 1 |
| Corte de tubo | Preparación estructural | 1 |
| Ensamble | Unión tela-tubo | 1 |
| Sellado | Termofusión de extremos | 1 |
| Etiquetado | Identificación del producto | 1 |
Y sumamos un operario más que cumple con:
- Apoyo en tareas interseccionales (traslado de herramientas/piezas, limpieza técnica)
- Control visual de calidad
- Reemplazo rotativo durante pausas o contingencias operativas
Listado de Equipos Auxiliares, Muebles y Útiles
| Área | Elemento | Cantidad |
|---|---|---|
| Producción | Mesa de trabajo metálica | 3 |
| Carros transportadores | 2 | |
| Estanterías metálicas | 4 | |
| Escalera tijera | 1 | |
| Cesto de basura | 2 | |
| Kit de herramientas manuales | 2 | |
| Matafuegos tipo ABC | 2 | |
| Luces de emergencia | 2 | |
| Dispenser de agua | 1 | |
| Aire acondicionado s | 1 | |
| Balde + mopa industrial | 1 |
| Área | Elemento | Cantidad |
|---|---|---|
| Oficina de
Producción |
Escritorio con cajonera | 2 |
| Silla ergonómica | 2 | |
| Computadora de escritorio | 2 | |
| Impresora multifunción | 1 | |
| Aire acondicionado | 1 | |
| Estantería de archivos | 1 | |
| Pizarra blanca | 1 | |
| Matafuegos | 1 | |
| Dispenser de agua | 1 | |
| Teléfono fijo | 1 |
| Área | Elemento | Cantidad |
|---|---|---|
| Oficina
Comercial |
Escritorio con cajonera | 2 |
| Silla operativa | 2 | |
| Computadora de escritorio | 2 | |
| Impresora | 1 | |
| Estantería baja | 1 | |
| Teléfono fijo | 1 | |
| Aire acondicionado | 1 | |
| Matafuegos | 1 |
| Área | Elemento | Cantidad |
|---|---|---|
| Comerdor | Mesa de comedor | 2 |
| Sillas | 13 | |
| Heladera con freezer | 1 | |
| Microondas | 1 | |
| Cafetera eléctrica | 1 | |
| Vajilla básica (juegos) | 13 | |
| Dispenser de agua | 1 | |
| Aire acondicionado | 1 | |
| Cesto de residuos | 2 | |
| Matafuegos | 1 |
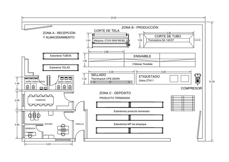
Anteproyecto de Planta
Plano de la Planta mostrando la distribución de las distintas áreas

El terreno se encuentra ubicado en una esquina, con acceso de camiones en el frente para carga y distribucion de producto terminado y en el lateral izquierdo para descarga de materiales.
Plano mostrando el recorrido de los materiales

Cronograma de Ejecución
